Fox Chapel Publishing
Metalwork and Machining Hints and Tips for Home Machinists
Metalwork and Machining Hints and Tips for Home Machinists
Made in United States of America (USA)
In stock
SKU:6250Shelf Location: (D06 - 04)
Couldn't load pickup availability
Key Features
Key Features
- 101 Plans and Drawings
- By Ian Bradley
- 96 pages, softcover, 5.8" x 8.3"
- ISBN: 978-1-49710-174-6
- Copyright 2021
Share
WARNING: This product can expose you to chemicals known to the State of California to cause cancer and birth defects or other reproductive harm. For more information go to www.P65Warnings.ca.gov.
View full details

Product Information
Description
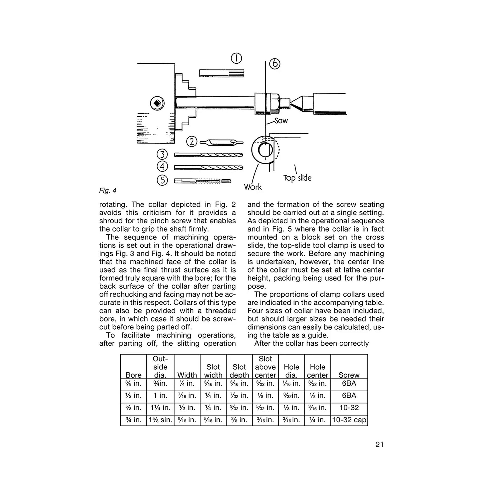
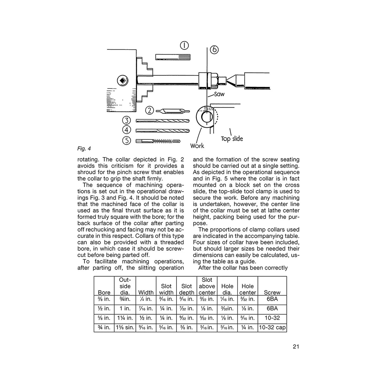
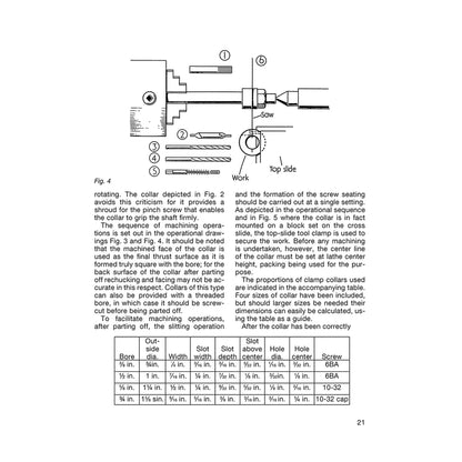
Metalwork and Machining Hints and Tips for Home Machinists is an informative anthology for beginners that combines useful advice and instruction with explanations of tools and techniques. With expert insight on a wide range of workshop practices and minor jobs, this helpful guide will introduce readers to arbors and mandrels, belt jointing and splicing, shaft collars, finishing metal surfaces, G-clamps, cutting holes, hand turning tools, and more.